WELCOME TO THE NEW APW-INC.COM NEW PARTS ADDED DAILY FREE SHIPPING ON ORDERS OVER $119
0

No products in the cart.

APW-Inc
  • SHOP BY CATEGORY
  • PARTS BY MODEL
  • RESOURCES
  • CONTACT US
  • Pressure Washer Parts and Accessories
    Pressure Washer
    Parts & Accessories
  • Pump
    Pressure Washer
    Pumps
  • Pump Parts and Accessories
    Pump
    Parts & Accessories
  • Engine Parts and Accessories
    Engine
    Parts & Accessories
  • A-iPOWER
  • ALL POWER
  • AMPLIFI
  • AR BLUE CLEAN
  • BAUER
  • BE
  • BLACK AND DECKER
  • BLACK MAX
  • BRIGGS AND STRATTON
  • BRUTE
  • CAMPBELL HAUSFELD
  • CAT
  • CHAMPION
  • CLEANFORCE
  • CLEANSHOT
  • COLEMAN POWERMATE
  • COMPANION
  • CRAFTSMAN
  • DELCO
  • DELTA
  • DEVILBISS
  • DEWALT
  • DIAMOND
  • DR POWER WASHER
  • DUROMAX
  • EARTHWISE
  • ECHO
  • EXCELL
  • FAIP
  • FORD
  • G-CLEAN
  • GENERAC
  • GRACO
  • GRAVELY
  • GREENPOWER
  • GREENWORKS
  • HARBOR FREIGHT
  • HERO
  • HOMELITE
  • HUSKY
  • HUSQVARNA
  • HYDROWORKS
  • HYUNDAI
  • JOHN DEERE
  • KARCHER
  • KODIAK
  • LIFAN
  • MAC ALLISTER
  • MAKINEX
  • MCCULLOCH
SEE ALL BRANDS
  • HOW-TO LIBRARY
  • SERVICE
  • FAQS
  • ABOUT US
  • NOZZLE CALCULATOR
Phone
PHONE
Customer Service:
888-279-9274
Repair Service:
877-218-0923
Clock
HOURS
(M-F PST)
Phone:
7:00 a.m. - 4:30 p.m.
Store:
7:00 a.m. - 5:00 p.m.
Location Pin
ADDRESS
2310 E 2nd St, Suite A
Vancouver, WA 98661
SHOP BY CATEGORY PARTS BY MODEL HOW-TO LIBRARY SERVICE FAQS ABOUT US NOZZLE CALCULATOR CONTACT US
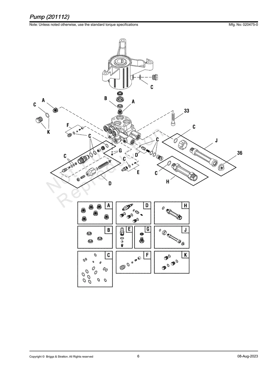
020475-0 by BRIGGS AND STRATTON - Pressure Washer Equipment Image

BRIGGS AND STRATTON, 020475-0
Pressure Washer Parts

Parts by Model » BRIGGS AND STRATTON » 020475-0
BRIGGS AND STRATTON, 020475-0, IPL.4
BRIGGS AND STRATTON, 020475-0, IPL.6

REPAIR PARTS

  • Shaft key

    SHAFT KEY 3/4" - 7/8"

    23139GS
    $3.41
  • CLIP

    CLIP

    B1797GS
    $5.20
  • 25 Degree, Nozzle, Quick Connect

    Briggs & Stratton 195983AGGS Quick Connect Nozzle

    195983AGGS
    $10.45
  • Nozzle, Quick Connect

    Briggs & Stratton 198841GS Quick Connect Black Nozzle

    198841GS
    $6.25
  • Wand

    B&S 207784GS Pressure Washer Wand

    207784GS
    $21.00
  • Gun

    Briggs & Stratton 204627GS Pressure Washer Gun

    204627GS
    $33.60
  • Hose

    25FT Briggs Replacement Hose

    202017GS
    $25.15
  • PUMP HARDWARE KIT

    PUMP HARDWARE KIT

    315139GS
    $11.55
  • Hardware

    Ki-Handle Hardware, Briggs and Stratton B2203GS

    B2203GS
    $12.55
  • Placeholder

    O-RING KIT

    196002GS
    $14.65
  • Briggs & Stratton 192310GS Vibration Mount

    Briggs & Stratton 192310GS Vibration Mount

    192310GS
    $12.55

REPAIR PARTS

  • Valve

    Briggs & Stratton 200344GS Check Valve Kit

    200344GS
    $23.05
  • Seal

    Briggs & Stratton 204084GS Water Seal Kit

    200345GS
    $27.25
  • O-ring

    Pump O-Ring Kit for Briggs, Craftsman, Troy-Bilt

    200346GS
    $25.15
  • GRUB SCREW W/ WASHER

    GRUB SCREW W/ WASHER

    200350GS
    $9.40
  • Thermal Valve

    208673GS Thermal Relief Valve for Briggs and Stratton

    208673GS
    $18.95
  • Fitting

    Briggs and Stratton 201497GS Water Outlet Tube Kit

    201497GS
    $19.90
  • Inlet

    Briggs & Stratton 201496GS Water Inlet Tube Kit

    201496GS
    $20.95
  • Filter

    Briggs & Stratton B2384GS Garden Hose Filter

    B2384GS
    $2.95
DOCUMENTS

Illustrated Parts List

  • BRIGGS AND STRATTON, 020475-0, IPL

Owners Manual

  • BRIGGS AND STRATTON, 020475-0, MNL
HAVE A QUESTION?
(888) 279-9274
APW Logo
Since 1986, APW has specialized in all aspects of pressure washers. With over 80 years of combined industry knowledge and a fierce dedication to our customers, APW is ready to be your guide.
MORE INFORMATION
  • About
  • Service
  • Contact
  • Shipping
  • Returns
  • FAQ
STAY CONNECTED
Sign up for our newsletter to hear about our newest products, exclusive discounts, and maintenance tips!
Facebook Logo YouTube Logo Instagram Logo
Sitemap
© 2025 APW Inc.
Privacy Policy
APW Distributing, Inc BBB Business Review
APW-Inc
Manage Consent
To provide the best experiences, we use technologies like cookies to store and/or access device information. Consenting to these technologies will allow us to process data such as browsing behavior or unique IDs on this site. Not consenting or withdrawing consent, may adversely affect certain features and functions.
Functional Always active
The technical storage or access is strictly necessary for the legitimate purpose of enabling the use of a specific service explicitly requested by the subscriber or user, or for the sole purpose of carrying out the transmission of a communication over an electronic communications network.
Preferences
The technical storage or access is necessary for the legitimate purpose of storing preferences that are not requested by the subscriber or user.
Statistics
The technical storage or access that is used exclusively for statistical purposes. The technical storage or access that is used exclusively for anonymous statistical purposes. Without a subpoena, voluntary compliance on the part of your Internet Service Provider, or additional records from a third party, information stored or retrieved for this purpose alone cannot usually be used to identify you.
Marketing
The technical storage or access is required to create user profiles to send advertising, or to track the user on a website or across several websites for similar marketing purposes.
  • Manage options
  • Manage services
  • Manage {vendor_count} vendors
  • Read more about these purposes
View preferences
  • {title}
  • {title}
  • {title}