CRAFTSMAN, 580.676650, IPL.22
CRAFTSMAN, 580.676650, IPL.23
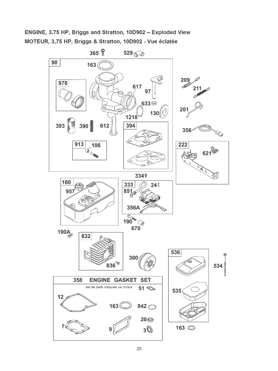
CRAFTSMAN, 580.676650, IPL.25
DOCUMENTS

Illustrated Parts List