CRAFTSMAN, 580.752381, IPL.26
CRAFTSMAN, 580.752381, IPL.27
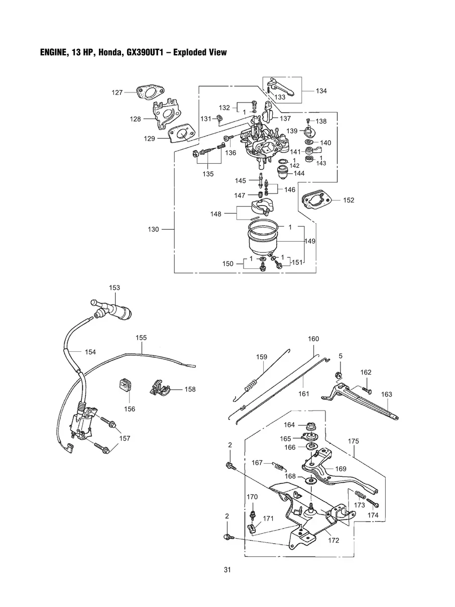
CRAFTSMAN, 580.752381, IPL.31
DOCUMENTS

Illustrated Parts List