CRAFTSMAN, 580.753410, IPL.22
CRAFTSMAN, 580.753410, IPL.23
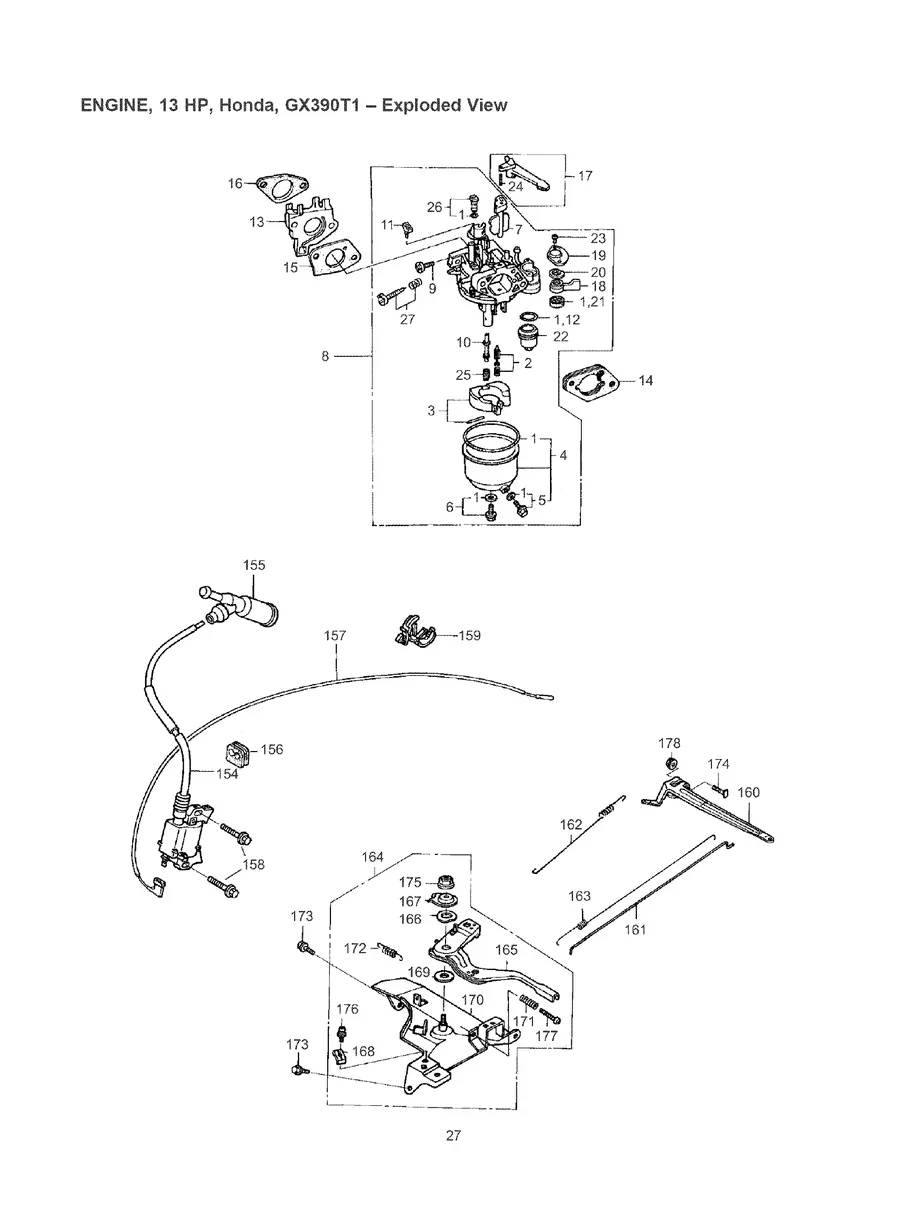
CRAFTSMAN, 580.753410, IPL.27
DOCUMENTS

Illustrated Parts List